近日,宝马一项全新车载交互专利正式公开,这项针对车载触摸屏操作的创新设计,有望有效改善驾驶者在行车过程中盲操作易误触的问题,为智能座舱交互提供了新的解决方案。
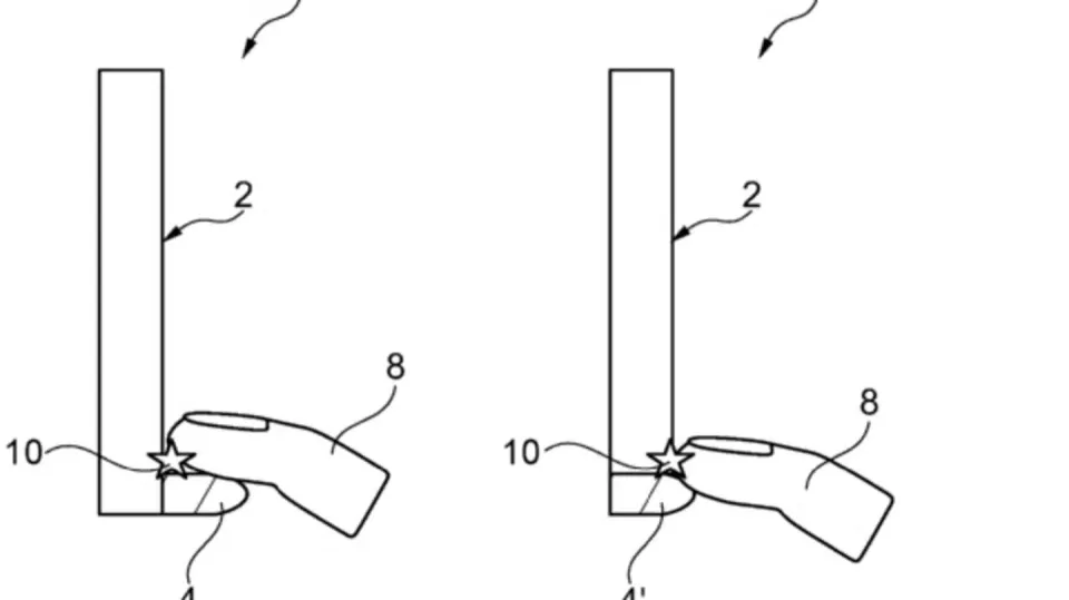
据1月24日公开的专利信息显示,该技术的核心是在车载屏幕边缘增设一条触摸感应条,其高度仅为几毫米,体积小巧,不会遮挡屏幕显示内容,也不会影响座舱整体美观度。这条感应条的主要作用是为驾驶者的手指提供物理支撑,解决行车时车辆颠簸导致手指悬空晃动、难以精准操作的问题。
为了进一步提升操作精准度,感应条表面还设计了与屏幕虚拟按键一一对应的凹槽。这种凹槽布局借鉴了传统机械按键的触觉反馈逻辑,驾驶者无需将视线从路面移开,仅凭指尖的触感就能快速定位到所需的虚拟按键位置,实现盲操作时的精准定位,大幅降低误触概率。
除了物理结构上的优化,该专利还搭配了多模态反馈机制。当驾驶者的手指触及感应条的对应区域、完成操作指令时,系统会同步触发震动、声音以及灯光反馈。这种三重反馈模式能让驾驶者清晰感知到操作已生效,无需反复查看屏幕确认,既提升了操作效率,也减少了因视线转移带来的行车安全隐患。
据悉,该感应条采用压电陶瓷材料制造,在保证触摸灵敏度的同时,还具备良好的防水防尘性能,适配车载环境的复杂需求。其模块化设计可与不同尺寸的车载曲面屏幕适配,未来有望广泛应用于宝马全系车型。
当前,车载信息娱乐系统普遍采用全触控设计,虽提升了功能集成度,但也带来了盲操作困难、误触率偏高的行业痛点,尤其在复杂路况下,这种问题更为突出。宝马这项新专利精准切入这一痛点,通过简单实用的结构设计,兼顾了科技感与实用性,也标志着车载人机交互向更安全、更便捷的方向发展。目前,该专利尚未明确量产时间表,但已为行业解决车载触控盲操作难题提供了全新思路。





